
WeiHai YongXin Chemical Machinery Co.,Ltd.

磁力驅動是近年來開發的一種新型傳動密封技術。
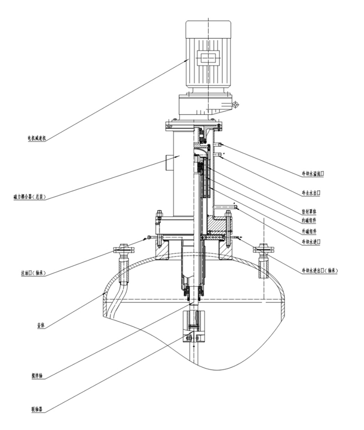
磁力不銹鋼反應釜的關鍵部件磁力耦合傳動器是一種利用永磁材料進行耦合傳動的傳動裝置,改變了傳統的必須過攪拌軸的動密封結構為靜密封結構,釜內攪拌部件完全在釜體靜密封腔內部旋轉,不伸出釜體外部,徹底解決了填料密封和機械密封因動密封而造成的無法克服的泄露問題,使反應介質絕無任何泄露和污染,是國內目前進行高溫、高壓下的化學反應最為理想的裝置,特別是進行易燃、易爆、有毒介質的化學反應,更加顯示出它的優越性。
用稀土永磁制作的強磁回轉式耦合結構(磁力驅動裝置),磁力驅動裝置的基本制造材料均為鐵磁性物質,磁導率極佳,磁場在穿過用于密封合金層時幾乎沒有損耗。由此外部驅動永磁體產生的旋轉磁場可以有效被內部永磁體轉子接受,進而帶動反應器內的攪拌部件進行物料混合,攪拌速度為0~300r/min,甚至更高,可配推進、槳式、錨式、框式、螺帶等各種槳。
磁力耦合攪拌反應釜是機械密封、填料密封反應釜的全新替代產品,適用于化工、制藥、染料及微生物工程等行業,尤其適用于工作介質易燃易爆、有毒及加氫、高壓、高真空、高速攪拌等其他常見密封無法使用的化學反應。